
Europol detonates KidFlix cesspit in dark web purge
Global sweep bags 79 twisted punters
Inspector Knacker of the Europol yard took a blowtorch to one of the foulest corners of the dark web—KidFlix, a global kiddie fiddling network where scumbags scored child abuse clips by flinging crypto or uploading filth of their own.

Bill Gates drops OG Microsoft code to mark 50 years
Software King of the World goes full retro, slings Altair BASIC source for the nostalgia crowd
The Software King of the World, Sir William Gates III, is marking Microsoft’s 50th birthday by releasing the digital equivalent of a baby photo onto the internet—a 150-page slab of Intel 8080 assembly code from Altair BASIC. This code launched the empire.

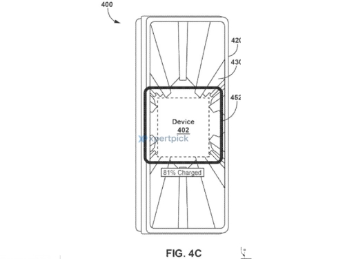
Google wants to zap power through your phone’s face
Worked out a new way to charge your phone
A newly published US patent from Google details a novel yet clever plan to embed a wireless charging coil beneath the smartphone’s display, enabling devices to function as both receivers and power donors.

Musk’s ex-hacker now burrowed into US Justice Department
Ex-cheat site operator snuck into DOJ with pirating past
One of Elon [Roman Salute] Musk’s top tech bros is now helping run the US Department of Justice, despite a teenage résumé that reads like a cybercrime rap sheet.

Trump slaps Job’s Mob with brutal tariffs
Looks the bromance is off
Donald [hamburger-eating surrender monkey] Trump has slammed a monster 46 per cent tariff on regions key to the Fruity Cargo Cult Apple’s global production chain, driving up the price of iPhones, Macs, and just about everything else shiny and expensive.